Hi 罐界用户,
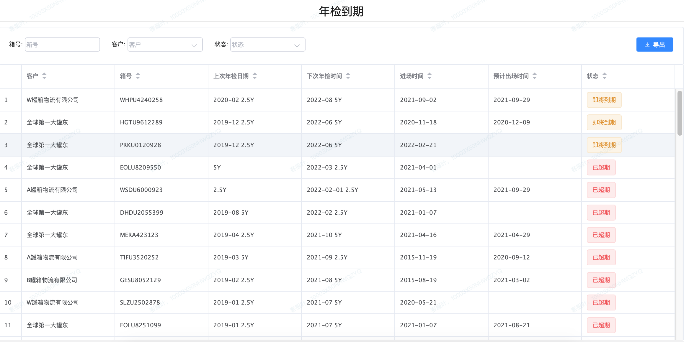
罐界新增加上线 ”年检统计”模块,根据箱子每次进场登记的下次年检时间,系统自动汇总”年检已过期 or 即将过期(3个月内)的箱子列表",方便堆场客服可以及时汇总和提醒罐东客户年期业务的服务开展。
欢迎各位在罐界使用过程中提出好的产品建议,support@isotank.cn
罐界 © 2015 Powered By 罐联科技